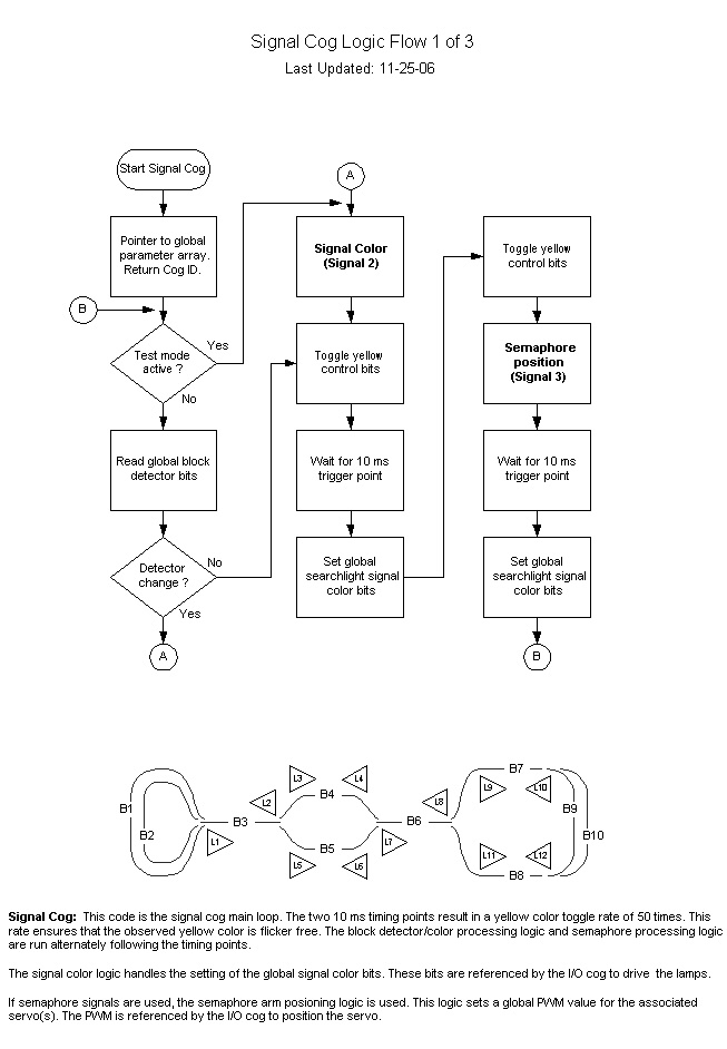
Signal 1